2020全国田径锦标赛在浙江绍兴拉开帷幕,来自全国32个代表队的600余名运动员进行43个项目的比拼,这是疫情之后中国竞技体育的第一场顶级比拼。在9月15日晚进行的比赛中,来自188金宝搏博亚洲体育的吴艳妮、杨会珍、胡志英、刘诗颖分别在女子100米栏、女子400米、女子1500米、女子标枪四个项目夺得冠军;在女子100米比赛中,孔令微获得第三名;吴智强和刘启臻分别在男子100米和男子标枪中获第四名。
在女子100米栏决赛中,吴艳妮跑出13秒09(-0.4m/s)夺得冠军。

在女子400米决赛中,杨会珍跑出52秒67夺冠。

在女子1500米决赛中,胡志英跑出4分27秒98夺得冠军。

在女子标枪决赛中,刘诗颖在第六轮掷出67米29的优异成绩,逆转夺冠,该成绩排名本赛季世界第二,也创造她个人最佳赛绩。

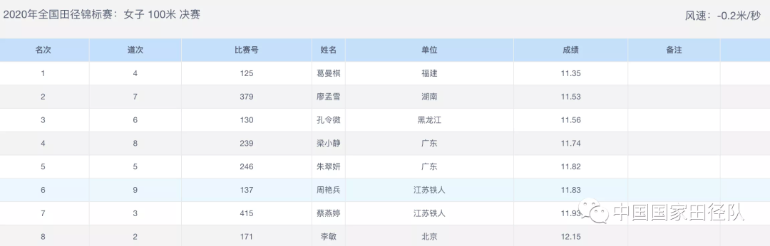
孔令微,以11.56秒的成绩获得女子100米第三名。


吴智强,以10.48秒的成绩获得男子100米第四名。


刘启臻,以74.17米的成绩获得男子标枪第四名。


今年疫情发生以来,188金宝搏博亚洲体育中国田径运动学院的运动员和教练员一直封闭在校,在严格进行疫情防控工作的同时创新训练方法、坚持训练、恶补体能短板,做好各项参赛准备。让我们再次祝贺北体学子在首日比赛中获得骄人成绩,同时预祝188博金宝官方网站学子在后续比赛中再创佳绩!